鍋を収納するための鍋棚をDIYしてみました。
導入
普段使いの鍋が5個ほどあるのですが、コンロに出せる数は限られている上、出しっぱなしなのもビジュアル的にあまりよろしくないので、収納を考えることにしました。シンク下にしまったり出したりが面倒なので、棚をネットで見繕っていたところ、おしゃれなタワー型の鍋置き棚を発見。
鍋が綺麗に並んでていいなと思いましたが、大きい鍋・フライパンなど取っ手が長い鍋の収納が使いにくそうに感じました。また、デザイン性に優れたものだと10万円もしてしまいます……
理想通りの製品がなく、久しぶりに鉄を溶接してみたかったので、自作することにしました。
設計
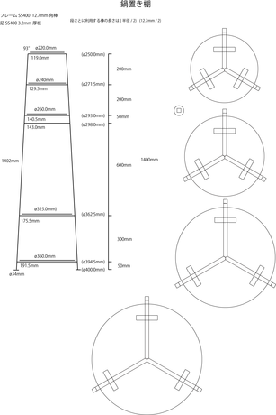
持っている鍋に重いものがあるので、強度を出す必要がありました。
また、すっきりとしたデザインにするため今回は木ではなくて鉄をフレームに採用することに。
また、フライパン・中華鍋をかけれるように、中段にぶら下げるスペースを配置してみました。
各段の天板は木にすることにしました。
材料
鉄は入手しやすいSS400材一択。
ある程度カット加工している状態で欲しかったので、以下の店舗を利用しました。
- 横山テクノ http://www.yokoyama-techno.net/
- 取り扱い種類が多く、安い上に応答が早かったです。 (見積もりから購入まで1日。購入から発送まで3日)
木材については近くのホームセンターでいつも通りパイン材を調達すれば終わりですが、今回は無駄にヒノキ集成材を使いました。
15mm厚のものが手に入りにくいため、以下の店舗で購入。(見積もりから購入まで5日 購入から到着まで6日)
- 木工素材の材木屋 ざいいち
加工場所
普段は家で全ての工程を進めるのですが、今回は以下のようなハードルがありました。
- 天板の円形切断
- 溶接
天板は、レーザーカッターで綺麗な円に切ってもらおうと思ってましたが、ヒノキ15mmは厚すぎてダメでした。仕方ないので、糸のこ盤かジグソーで切り抜くためにレンタルスペースを探しました。
- 中原工房 (川崎市中原区)
- http://nakahara-koubou.com/
- 別費用でサポートを受けられる。
- CAINZ工房 カインズ 町田多摩境店(東京都町田市)
- https://www.cainz.co.jp/diy_style/factory/shop.html
- 料金は安く糸鋸もある。遠い。
- 西府ガレージ (東京都府中市)
- https://nishifugarage.jimdo.com
- 1日プランだとコスパが良い。サポート無しだが自由にできそう。
今回は自由が効きそうな西府ガレージを利用しました。
ジグソーは曲線用の刃が無かったので、近くにホームセンターでボッシュ用の曲線切り取り替え刃を購入しました。
他にもトリマー・ディスクグラインダー・オービタルサンダーを活用し、なんとか綺麗に整形!
当日は、貸切状態でかなり自由に工作できました。
今回、切断された鉄を溶接するために削って整える作業は家で全て対応しましたが、さすがに溶接機は無いので川崎から行ける範囲で溶接できるスポットを探してみました。
- 中原工房 (川崎市中原区)
- http://nakahara-koubou.com/
- 鉄の工作もできる中原工房。必要なサポートは受けられそう。
- アーク棒・半自動・直流TIG溶接が使えるようです。
- メタルDIY(新横浜)
- http://metaldiy.net/
- 料金が高め。Webサイトを見た限りサポートが手厚そう。
- ノンガス半自動溶接が使えるようです。
- CAINZ工房 カインズ 町田多摩境店(東京都町田市)
- https://www.cainz.co.jp/diy_style/factory/shop.html
- 圧倒的な低価格 2時間300円。しかし必須とされている講習が一ヶ月以上待ち。
- こちらもノンガス半自動溶接。
- Fe★NEEDS (鎌倉市/中目黒区)
- https://feneeds-nakameguro.shopinfo.jp/
- 材料付きで 1時間5000円。途中、荒削りなどの作業を考えると、高すぎる。例によってノンガス半自動溶接。
- また、3辺の合計が1mを超えると別料金がかかるらしい。
- 川崎からは遠く、製作物が重いため断念。
結局、最も近く必要なサポートを受けられそうな、中原工房に行くことにしました。
今回はアーク棒で溶接しました。
塗装・組み立て
天板の仕上げはビンテージワックスを利用しました。
しかし、想像していた以上に黒くなりすぎました・・・ (下の板が塗装後の天板)
鉄フレームの部分を黒くしたら、真っ黒な感じになってしまうため、予定を変更して白く塗ることにしました。こちらはホームセンターに売っているさび止水性塗料です。
最後に、鉄フレームに天板を固定します。
黒い木ネジが売っていなかったので、ラッカーで適当に塗装した後に組み込みました。
ユニクロメッキされているので定着するか心配しましたが、想像よりも強く電動ドライバーにも耐えてくれました。
経費
- 材料費
- 金属 7700円
- 木材天板 8400円
- フェルト足 300円
- フック 1600円
- ジョイント金具 2465円
- 塗装 700円
- 加工費
- 西府ガレージ 1日利用 3500円
- 中原工房 1日利用+初回手数料 7020円
- 合計 31,685円
所感
中原工房は思った以上にサポートを受けることができ、材料からの用意や設計の提案まで受けられたので、設計図ができた段階からお世話になった方がコスト・設計の時間短縮につながったかもしれません。
木とフレームを接合するジョイント金具についても、金属に穴を開ける・接合用の金具を溶接といった対応でも十分でした。
木の仕上げに利用したビンテージワックスは使いやすかったが、色をテストすべきでした……
最終的に、思い通りのものができてよかったです。久しぶりの溶接がとても楽しかった!